Future BMWs Might Have Virtual Wing Mirrors Beamed Onto The Windows

The old adage ‘if it ain’t broke, don’t fix it’ doesn’t exactly work in the car industry. Manufacturers are packing an increasing bonkers amount of technology into their cars to attract buyers and/or improve safety, which means some of the oldest and simplest features are being reinvented.
Just take the humble wing mirror. It’s one of your car’s most straightforward parts, yet one of the most useful, so you’d think adding tech isn’t going to improve it all that much. Some are trying, however, via the use of camera mirrors. There are a few benefits to doing this, most notably in terms of aero - a little camera pod creates far less drag.
You can potentially have a larger (albeit fixed) field of view, too, and you can display safety information like blind-spot monitoring warnings on top of the display. BMW played around with the idea a few years ago via a concept version of the i8 displayed at the Consumer Electronics Show, but the company is proposing something much more interesting via a new patent.

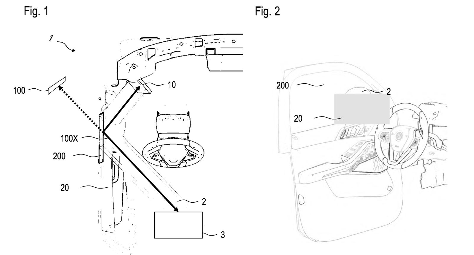
As spotted by someone on the i4 Talk forum BMW has filed a patent with the European Patent Office (EPO) detailing a very different take on the virtual wing mirror. As with the system on its i8 and similar setups on the likes of the Honda E and Audi E-Tron, cameras are fitted in place of the conventional mirror units, but the feed isn’t simply displayed on dashboard/door-mounted screens.

Instead, what the camera sees is projected onto semi-transparent portions on both front windscreens. Much like head-up display systems, the image will appear to be further out than the actual glass, seemingly occupying the same area as a regular mirror unit would do.
It’d be a better solution than merely whacking the feed on a regular screen since the driver’s eyes will be less strained. They wouldn’t have to get used to looking in a different location to normal either, as per the E-Tron which requires the user to peer further down at the door card-mounted displays.

Want to drop down one or both front windows? BMW has, as you’d hope, thought of that. The portion of glass used for the mirror display will be separate from the main window, remaining fixed in place when the latter is wound down.
We have no clue when this technology might be rolled out to a production car if it will be at all - a patent application is not a guarantee of a real-world application. That said, with more and more electric BMWs arriving all the time, the company may be keen to use these mirror units for the sake of cutting drag and eking out more range. Watch this space…














Comments