Honda's Clever Windows Will Tint At The Prod Of A Finger
Honda has filed a patent for special windows which will let you tint the exact amount you want

Like the idea of window tints but find them a tad permanent? Honda has just the thing for your fickle self.
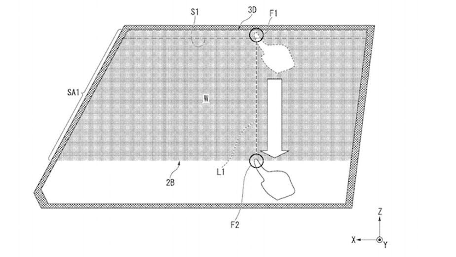
According to Auto Guide, the manufacturer has just filed a patent for special touch sensitive windows. The idea is you’ll be able to control exactly how much of the window you want tinted by simply dragging the tinted area around with your finger.
We’re guessing it works in the same way as the ‘Magic Sky’ glass roof technology seen in some Mercedes, which uses a film of particles controlled via an electric current. When the particles are put in random positions by the current, they block light from coming through.
Clever, no?
Comments
[DELETED]
first
This isnt Youtube
im quite sure the cars in germany wont have this feature for driver and passanger windows
And in Australia the driver’s window will only be able to be tinted to the legal limit and the rest can be blacked out
That’s amazing
Just another thing for drivers to be messing with when they aren’t looking for motorcycles 😐
Now when cops want to pull you over, just touch the window and the cop will be left with his (or her) mouth wide open in amazement…
[DELETED]
Hi officer
Bye officer
[DELETED]
And then, if you live in Russia, he will proceed to just punch it in with strength of bear.
[DELETED]
Will this fit in my honda?
This actually fits in honda…
what if it rains?
wont the rain mess up the “window tint”
No as the touch sensors would be on the inside.
They will have problems, some houses that have these windows and they sometimes go wrong, they will probably go wrong in the first few years
Pagination