Hype Alert: Mazda Patents RWD Hybrid Rotary Sports Car

The latest development in Mazda‘s long-running, ‘will they/won’t they’ rotary sports car saga is here. As first spotted by an online forum and subsequently picked up by Auto Evolution, some recently filed patent images show a rear-wheel drive sports car powered by a rotary engine. Oh yes.
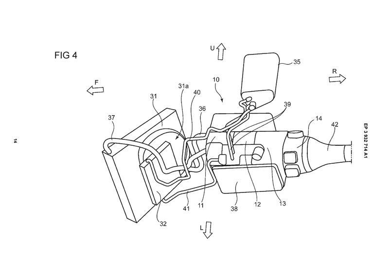
The car detailed has Wankel bragging rights over its RX-7 and RX-8 forebears, as it features a three-rotor engine. The only road-going Mazda to be configured thusly was the Eunos Cosmo - most, the RX cars included, used two-rotor power plants.

Further differentiating itself from its predecessors, this proposed coupe features a transaxle gearbox, as well as electrical assistance via a hybrid system. So far, so promising, so how excited should we be at this stage?
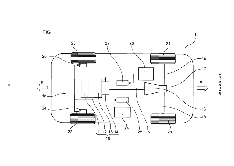
There are a couple of reasons for optimism. Firstly, Mazda has developed a new, small rotary engine as a range extender for the MX-30, which it has previously said helps keep the technology alive for the mythical RX-8 follow-up. Secondly, the company has its new ‘Large Product group’ architecture, which would be ideal for this hybrid rotary sports car.

The platform features a longitudinally-mounted engine and is developed with both mild hybrid and plug-in hybrid applications in mind. It’s designed to house members of Mazda’s all-new inline-six engine family, so adopting a compact rotary engine - even one with a trio of rotors - should be no problem at all.
On the other hand, patents come and go all the time without resulting in production applications. This one from Mazda could well end up in that camp. Plus, the window of opportunity is getting narrower all the time with Euro 7 emissions rules one the way. Set to come into force from 2025, they could make producing a car like a rotary ‘RX-7’ very difficult indeed.

Should Mazda manage to bring something like this to market, it could end up looking like the gorgeous RX-Vision concept (above), launched way back in 2015 at the Tokyo Motor Show. Keep those fingers crossed, folks.














Comments
THREE ROTOR? TRANSAXLE?? IS THIS HEAVEN???