Mazda's New Straight-Six Appears In Patents; Might Power The 'RX-9'

Mazda is not like other car companies. While other manufacturers have obsessed with downsizing - a move which has backfired to an extent - it has stuck to a principle of ‘right-sizing’. Instead of making ever smaller engines with turbochargers, Mazda likes much larger, usually naturally-aspirated engines.
Now though, the Japanese firm is taking this ethos a step further, by making an engine much larger than anything it currently builds. As accidentally confirmed by a financial results report published - and subsequently removed - on its website last year, Mazda is building an all-new inline-six. And although news on that front did go quiet for some time after the initial report, the engine has now appeared in some patent drawings.
The accompanying text for the images - uncovered by Japanese publication T’s Media - seems to suggest the new straight-sixes will be scalable. “Provided is an engine exhaust structure capable of securing exhaust efficiency while reducing the size of the engine by changing the structure of an exhaust port,” they say (translated from Japanese via Google).
When Mazda originally let the six-cylinder cat out of the bag, it mentioned SkyActiv-X branding. That means the engines are set to use spark-controlled high-compression ignition for a leaner burn, and there won’t be any turbochargers. Existing inline-four SkyActiv-X engines do use a tiny pump to push extra air into the engine, which could be described as a supercharger - so whether or not the new sixes can be considered naturally-aspirated is up for debate.

The engines will be used by a new range of predominantly rear-wheel drive ‘large architecture’ cars, one of which is set to be a new Mazda 6 saloon. 48-volt mild hybrid and full plug-in hybrid options are on the agenda, as is a diesel version.
More recently, it’s been rumoured that the engine and the platform will be used for the mythical ‘RX-9’. Yep, the RX-7/RX-8 successor will use a six rather than a rotary engine, according to Jalopnik.

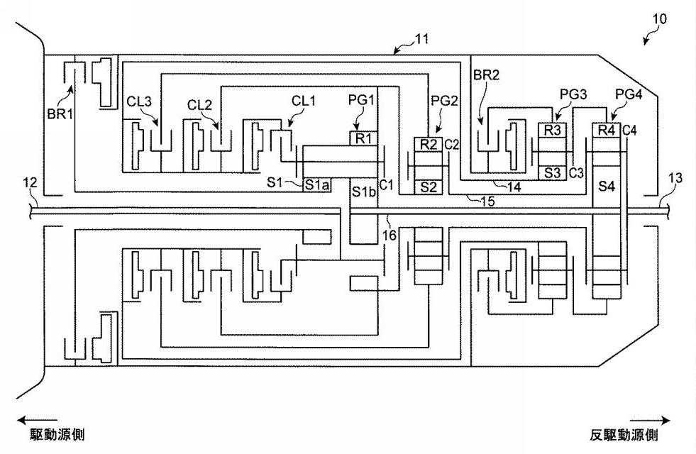
A patent for a new eight-speed automatic gearbox has also been filed by Mazda. While inevitably of less interest than the engine, its development is good news given that the company currently has to make do with a relatively old six-speed auto.














Comments
Two patents separately, great.
If both are designed for the same car, A N G E R Y
if u dislike this u prob cant afford rotari
Why do I feel like this is going to be the A90 Supra all over again?
“iT’s NoT a ReAl Rx!!!!!!!!!!!!!!!!”
I mean the R in RX stands for rotary sooo…
I have a hypothesis; I might be right, I might be not. I think the car we’re talking is not the RX, but a possible revival of the MX-6. why?, I found an article where these guys trademarked the Name MX-6
( Source: https://www.motor1.com/news/284574/mazda-trademarks-mx6-name/) So I can be a possibility I guess, and probably the next generation of the 6, will also debut this new engine.
Wouldn’t that make it the mx9?
Hm. Yes. I want. Mazda, please give us this. Although, if I might add something, I think Jalopnik meant that Mazda is going to use the basis of what was originally intended to be the RX9 to make a 2-door GT/sportscar with a 6-cyl Sky-X.
Wasnt it said by mazda that the next Mazda 6 would get a 3.0l inline 6? So it would be for that if im not mistaken
Incorrect. It’s for the upcoming Mazda 6 rwd
“I’ll take the Diesel option for 300 Alex”
Pagination