Toyota Might Be Cooking Up A Manual Gearbox That Acts Like An Auto

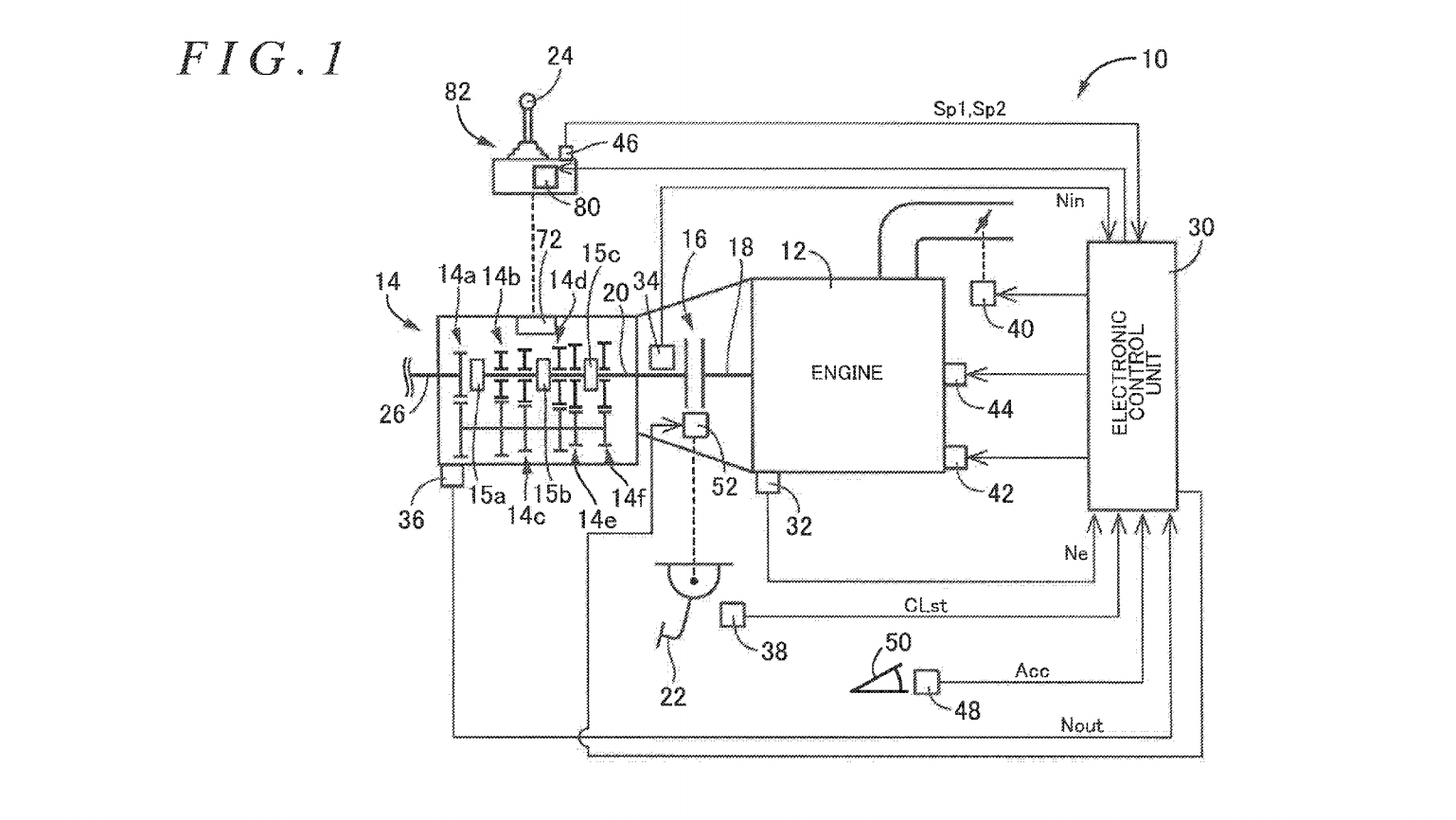
When is a manual not a manual? When it’s this bizarre partially automated transmission proposed by Toyota. Revealed via a patent published this month, it’s operated like a normal, three-pedal manual, but when the car is coasting, an electronic control unit is able to disengage the clutch and drop the engine speed, presumably to save fuel in the same way an automatic can.
It goes further than that, by employing locking pins that stop the driver shifting to an inappropriate gear while in the coasting mode, preventing the engine being either lugged or over-revved. While it looks like the point of the exercise is efficiency, the technology could have added benefits for drivers less experienced with a manual gearbox.
Whether or not the concept actually ends up being used, we’ll have to wait and see, but whatever happens, it’s another sign that the automotive industry still has developments in mind for the humble manual. Only recently, German components firm Schaeffler revealed a new clutch system that allows for a manual gearbox to be used on a hybrid powertrain.
By the looks of it, then, we’ll be able to row through the gears of our cars for a few decades more…
Source: US Patent and Trademark Office via Roadshow













Comments
Mazda be like: “We’re gonna make a petrol engine that acts like a diesel!”
Toyota be like: “We’re gonna make a manual that acts like an automatic!”
Honda be like: “Amateurs. We already made a F1 engine that acts like a GP2 one!”
I dunno why are they so complicating it. Connect a PS4 gear stick to an auto and that’s it.
What’s next? Supercharger that acts like a turbocharger?
That picture got me nosebleed.
What about alfa romeo?
“when the car is coasting, an electronic control unit is able to disengage the clutch and drop the engine speed”
Welp, goodbye engine braking
If this could save the manual trans, I’m all for it. But it sounds too essy in a way. I want to brag about how much skill it takes to drive my car.
If it’s what we had to do to keep the manual around another 50 years I’m all for it. If it’s for preteens who want to “ghost ride the whip” when mom is around keep it. Have enough trouble staying out of accidents outside of the power band.
Good guy toyota still working on manual
Like the ‘Sensonic’ ‘box in my Grandad’s Saab?
Pagination